Si vous installez un EcoSmart Fire Grate ou un Heritage Grate dans un foyer maçonné existant, le respect des distances de sécurité est essentiel pour un fonctionnement sûr et efficace. Ce guide couvre les volumes minimaux de pièce, les distances avec le mobilier et les dimensions d’insertion dans le foyer pour chaque modèle de grille de la gamme.
AVERTISSEMENT : veillez à ce que votre cheminée soit toujours positionnée à l’écart des matériaux inflammables et de toute autre source d’inflammation. Soyez particulièrement attentif à éloigner la cheminée des éléments susceptibles de bouger sous l’effet du vent et des courants d’air. Par exemple les rideaux/le papier et éléments similaires.
Procédez à l’installation uniquement après que tous les raccordements de gaz ou conduites ont été déconnectés et sécurisés par un professionnel dûment qualifié et agréé.
Le sol doit être constitué d’un matériau non combustible, car tout déversement sur le modèle peut atteindre le sol.
Les EcoSmart Fire Grates doivent être installés dans un foyer traditionnel maçonné ou existant lorsque vous convertissez la source de cheminée actuelle, qu’elle fonctionne au gaz naturel ou au bois.
Volumes Minimaux de Pièce
Veillez à tenir compte des volumes minimaux de pièce ci-dessous :
| Modèle | Brûleur | Pièce Minimale |
| Heritage 25 | 1 x BK5 | 70 m3 [2,472 ft3] |
| Grate 30 | 1 x XL500 | 80 m3 [2,825 ft3] |
| Grate 36 | 1 x XL700 | 90 m3 [3,178 ft3] |
| Heritage 50 | 1 x XL900 | 110 m3 [3,884 ft3] |
| Grate 18 | 1 x AB8/AB8(EN) | 116 m3 [4,096 ft3] |
Distances de Sécurité
Les distances par rapport aux éléments de mobilier fixes et stables, non susceptibles de bouger, tels que les canapés ou le mobilier de patio, doivent rester d’au moins 600 mm [23.6 in] de la flamme à tout moment.
Les distances en hauteur par rapport aux éléments susceptibles de bouger (p. ex. rideaux) doivent rester d’au moins 1,650 mm [65 in] de la flamme à tout moment.
Afin d’éviter que la chaleur ne s’échappe par le conduit, placez un panneau en matériau non combustible réfléchissant la chaleur, comme l’acier inoxydable, sur l’ouverture de votre conduit.
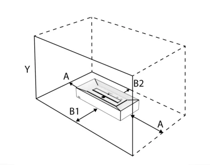
Insertion DANS un foyer
| Hauteur (Y) | Avant (B1) | Arrière*(B2) | Côtés (A) |
| 640mm [25.2in] Minimum | 25mm [0.98in] Minimum | 12mm [0.5in] Minimum | 12mm [0.5in] Minimum |
*Avertissement : les distances par rapport aux meubles et autres matériaux combustibles devant la cheminée doivent être maintenues à un minimum de 600mm (23.6”) de la flamme à tout moment.

S’applique à :
- Grate 18, Grate 30, Grate 36
- Heritage Grates